

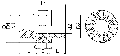
XL(LX)型彈性星型聯軸器 特點及應用場合:具有補償兩軸相對偏移、減振、緩沖性能、徑向尺寸小,結構簡單、不用潤滑、承載能力較高,維護方使、更換彈性元件需軸向移動,適用于聯接同軸線,起動頻繁,正反轉變化,中速、中等轉矩傳動軸系和要求工作可靠性高的工作部位。不適用于重載、低速及軸向尺寸受艱制,更換彈性元件后兩軸對中困難的部位。 XL型--基本型;XLD型--擴大軸孔型;

XL(LX)型彈性星型聯軸器的基本尺寸和參數(JB/T 10466-2004) mm


公司生產地址:江蘇省鎮江市高新技術開發園區68號
銷售中心地址:江蘇省鎮江丁卯開發區智慧大道668號705室
手機:孫女士 18952800101
QQ:1991897647
電話:0511-85788529
傳真:0511-85019680(自動接收)
企業郵箱:sales@lzqgs.cn
Copyright ? 鎮江海誠機械制造有限公司 版權所有 技術支持:江蘇易潤
專業生產:雨水收集系統 | 彈性聯軸器 | 彈性柱銷聯軸器 | 彈性星型聯軸器 | 梅花形彈性聯軸器 | 中間軸柱銷齒式聯軸器