

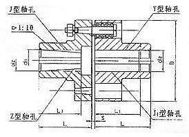
TL(LT)型彈性套柱銷聯軸器 特點及應用場合:具有補償兩軸線相對偏移和減振、緩沖性能,結構簡單,制造容易,不需潤滑,維修方便,徑向尺寸較大,適用于安裝底座剛性好,對中精度較高,沖擊載荷不大,對減振要求不高的軸系傳動,適用范圍廣泛,是我國早期通用標準聯軸器。不適用于高速和低速重載工況條件。
TL(LT)型--基本型;
TLL(LTZ)型--帶制動輪型;

TL(LT)型彈性套柱銷聯軸器參數及主要尺寸:(GB/T4323-84<2002>) mm


公司生產地址:江蘇省鎮江市高新技術開發園區68號
銷售中心地址:江蘇省鎮江丁卯開發區智慧大道668號705室
手機:孫女士 18952800101
QQ:1991897647
電話:0511-85788529
傳真:0511-85019680(自動接收)
企業郵箱:sales@lzqgs.cn
Copyright ? 鎮江海誠機械制造有限公司 版權所有 技術支持:江蘇易潤
專業生產:雨水收集系統 | 彈性聯軸器 | 彈性柱銷聯軸器 | 彈性星型聯軸器 | 梅花形彈性聯軸器 | 中間軸柱銷齒式聯軸器